
Idealny podczas modernizacji
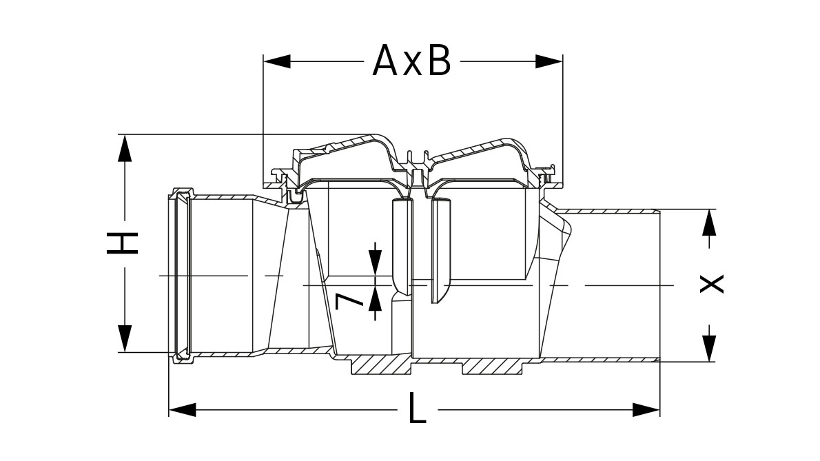
Jeśli zawór przeciwzalewowy nie pasuje do istniejącej rury, może to oznaczać większy nakład pracy i wyższe koszty. Różnica poziomów między dopływem i odpływem w Staufix Basic wynosi zaledwie 7 mm, dzięki czemu daje się on bez problemu zamontować na istniejących przewodach. Wersja „Korpus czyszczaka" może służyć jako elementu do czyszczenia.

Niezakłócona praca – konserwacja bez narzędzi
Staufix Basic wykonany jest w całości z tworzywa sztucznego, co chroni go przed korozją. Ale to nie jedyna zaleta, która czyni go łatwym w obsłudze: dzięki praktycznym zamknięciom szybkomocującym możliwe jest otwarcie zaworu przeciwzalewowego do konserwacji bez użycia narzędzi.

Nie znalazłeś pasującego produktu?
Oprócz naszych standardowych zaworów przeciwzalewowych projektujemy na życzenie klienta indywidualne rozwiązania specjalne z uwzględnieniem szczególnych wymagań odnośnie formy, funkcji i wymiarów.

























![[Translate to Polnisch:] Fachberatung bei KESSEL [Translate to Polnisch:] Fachberatung bei KESSEL](/fileadmin/_processed_/3/8/csm_kessel_kundendienst_berater_seitlich_rgb_1920x1080_24fcc40c35.jpg)